Motor, Antrieb und Steuerung
MOTOR, ANTRIEB UND STEUERUNG
SOCKELBAUGRUPPE FÜR EINEN ANTRIEBSREGLER
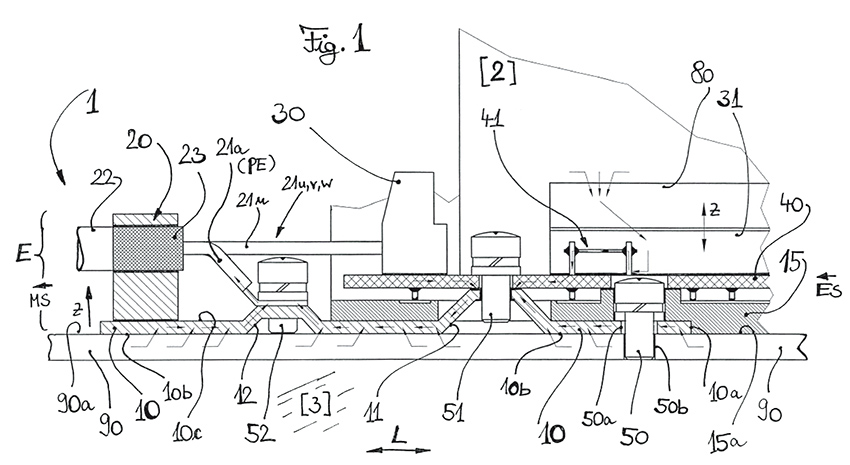
Die Erfindung befasst sich mit einer Sockelbaugruppe als einem Montagesockel. Die Sockelbaugruppe ist ein Abschnitt eines Frequenzumrichters, der auch einen Elektronikabschnitt besitzt, wobei die beiden Abschnitte über elektrische Steckverbinder elektrisch lösbar kontaktiert sind. Der Schirm der Motorleitung soll zuverlässiger und reproduzierbarer mit den zugehörigen (potentialgleichen) elektrischen Bereichen auf der Sockelbaugruppe verbunden und eine Erstmontage beschleunigt werden. Vorgeschlagen wird dazu die Sockelbaugruppe mit einer Längserstreckung (L) und einer Quererstreckung (Q), welche eine Montage- und Verbindungsebene (E) definieren, deren Unterseite eine Montagefläche bildet, zur mechanischen Montage der Sockelbaugruppe in einem Schaltschrank (3). In der Verbindungsebene (E) sind mehrere elektrische Steckverbinder (31,30,33,39) vorgesehen, mit einer Steckrichtung senkrecht (z) zur Verbindungsebene (E). Auf der Motor-Ausgangsseite (MS) wird die Montagefläche von einem Metallblech (10;11,12;10a,10b) gebildet, das sich in Längs- und Querrichtung erstreckt, um bei einer Montage der Sockelbaugruppe (1) in dem Schaltschrank (3) mit der Montagefläche an einer metallischen Halteplatte des Schaltschranks zu liegen zu kommen und dabei mit dem Metallblech (10,10b) eine elektrisch leitfähige, schirmwirksame Verbindung zu bilden.
